Компания Volkswagen намерена отказаться от подрулевых переключателей. Как следует из патента марки, все их функции, в том числе рычажки сигналов поворота, перенесут на рулевое колесо.
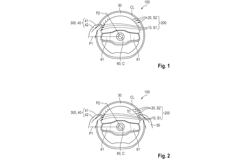
По замыслу производителя, на внутренней стороне обода рулевого колеса появится два набора кнопок. Они могут быть физическими, сенсорными или обоих видов одновременно (аналогично проекту, представленному компанией Ford некоторое время назад).
Количество клавиш не определено. Это означает, что на автомобиле высокого класса, таком как Golf R, можно получить полный набор кнопок, а на базовой Jetta их будет меньше, пишет av.by.

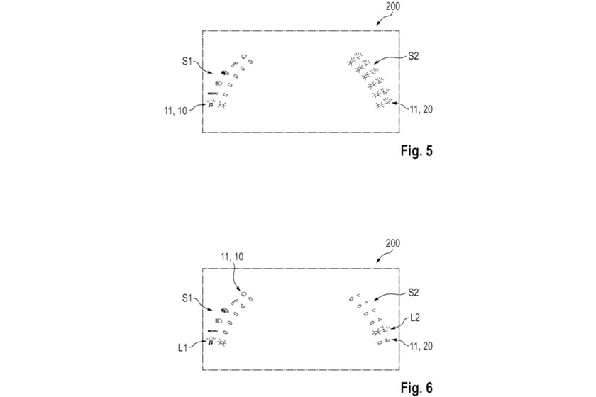
Хотя система кажется сложной, в теории она удивительно проста. Два набора элементов управления (физические или сенсорные кнопки) расположены на левой и правой сторонах рулевого колеса. После активации первичного элемента управления загораются вторичные, далее водитель выбирает один из вариантов. При нажатии или сенсорном включении функции (к примеру, фары) на рулевом колесе слева загораются доступные опции. Затем водитель может дать одну из команд, например активировать дальний свет, ближний свет, «противотуманки» или опустить фары.

По мнению VW, новая система выгодна по трем причинам.
Первая и самая очевидная – это безопасность. Благодаря тому, что основные элементы управления находятся на рулевом колесе, водителю не нужно отрывать руки от руля. Вдобавок на него можно вынести управление мультимедийной системой или выбор ездовых режимов.

Во-вторых, это дает дизайнерам VW больше свободы для разработки новых серий рулевых колес, не загромождающих пространство.
В-третьих (самый главный фактор с точки зрения бизнеса), производитель может значительно сэкономить на разработке и производстве, поскольку за счет универсальной системы конструкторам не придется создавать отдельный набор подрулевых переключателей для каждой новой модели.
Пока в Беларуси мороз и снежные сугробы, появляется прекрасная возможность поностальгировать по лету и тёплым денькам.
В первый февральский день в Гродно произошло ДТП, в котором пострадал пешеход.
На вопрос отвечает адвокат юридической консультации Железнодорожного района Гомеля Евгений Курнасенко.