Tesla делает очередной громкий ход, который, с одной стороны, является жестом доброй воли, но также показывает другим автопроизводителям, кто настоящий новатор. После старта продаж Cybertruck, который впервые в мире использует базовую электрическую систему на 48 В, Tesla разослала всем автопроизводителям пакеты документов со всеми техническими характеристиками этой системы, чтобы вся отрасль могла быстрее перейти с 12 В на 48 В.
Бортовая сеть автомобиля с напряжением 48 В необходима в эпоху, когда в автомобиле становится все больше и больше электрических компонентов.
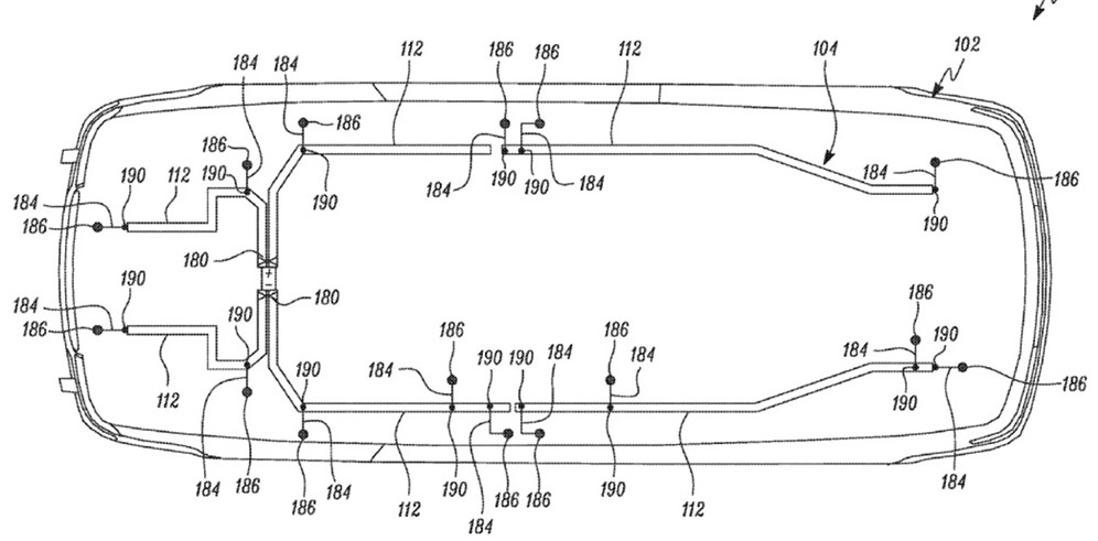
Более высокое напряжение позволяет использовать меньшую силу тока, и, таким образом, можно питать больше компонентов автомобиля по менее тонким жилам электропроводки.

В отрасли уже много лет говорят о том, что эта необходимость уже назрела, но ни у кого из производителей пока не хватало смелости пойти на этот переход. Ведь он требует, чтобы абсолютно все электрические компоненты автомобиля были другими – начиная с небольших моторчиков и датчиков, заканчивая мультимедийными системами и бортовыми компьютерами, приборными панелями, фарами и даже стартерами, если речь идет об автомобилях с ДВС.
И вот, Тесла сделала этот шаг.

Сейчас же Tesla разослала всем автопроизводителям огромные пакеты инженерной документации и обратилась в устной форме, чтобы они не ленились и тоже сделали большой шаг.
Глава Ford Джим Фарли первым публично подтвердил, что получил эти посылки от Tesla, и поблагодарил их:

Такой переход был бы выгоден для всех, поскольку новые 48-вольтовые компоненты станут дешевле за более короткое время. Конечно, все выиграют из-за уменьшения размеров электропроводки автомобилей.
Однако маловероятно, что многие производители начнут внедрять 48-вольтовые компоненты на автомобиля с обычными двигателями в контексте ожидаемых запретов в 2035 году.
Но электромобили могут получить большую выгоду от этого перехода, и это, безусловно, поможет им стать более эффективными и экономичными: и по конструкции, и по весу, и по потреблению электроэнергии.
Пока в Беларуси мороз и снежные сугробы, появляется прекрасная возможность поностальгировать по лету и тёплым денькам.
В первый февральский день в Гродно произошло ДТП, в котором пострадал пешеход.
На вопрос отвечает адвокат юридической консультации Железнодорожного района Гомеля Евгений Курнасенко.